Вопрос 43. Стиральные машины типа см. Устройство и принцип работы
СМ — стиральная машина без отжима;
«ФЕЯ» ТИПА СМ-1,5. Предназначена для стирки и полоскания изделий из тканей всех видов.
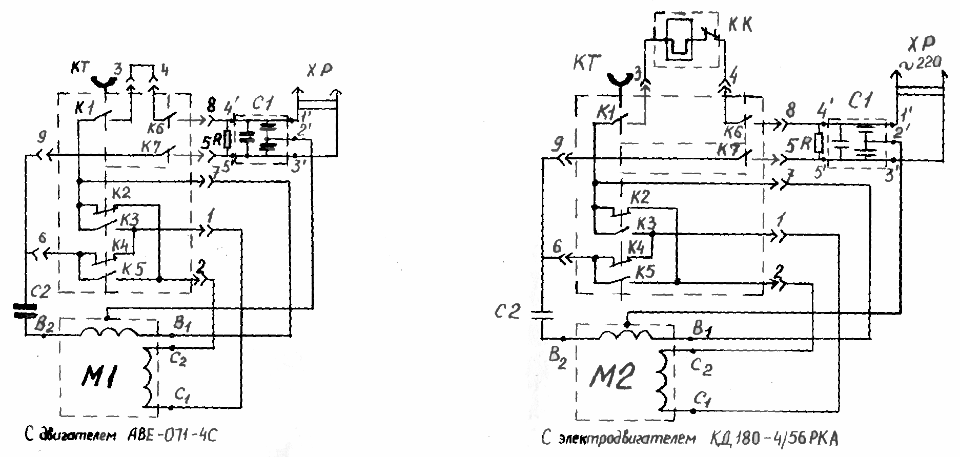
Стиральный бак имеет выемку в днище для установки активатора и выступы на внутренней стенке, указывающие на необходимый уровень воды в баке для стирки и полоскания. Активатор приводится во вращение электродвигателем через ременную передачу. Электрический привод машины состоит из электродвигателя, реле времени , конденсаторов .
Пуск и останов электропривода активатора
осуществляется при помощи реле времени,
ручка которого выведена на панель пульта
управления. Реле времени обеспечивает
автоматическое управление циклическим
реверсированием, при этом чередование фаз
цикла реверсирования происходит в
следующей последовательности: рабочий
период, соответствующий вращению
электродвигателя в одну сторону; пауза;
рабочий период, соответствующий вращению
электродвигателя в противоположную
сторону; пауза и цикл повторяется снова
в той же последовательности.
На дне стирального бака расположен сливной патрубок со стационарно закрепленным сливным шлангом. Машина комплектуется наливным шлангом, подставкой и щипцами для белья. Подставка предназначена для установки стиральной машины на борта ванны .
Электрическая схема включает: электродвигатель М; реле времени КТ; блок конденсаторов С1, состоящий из конденсатора типа К75-37 емкостью 0,68 мкФ и двух конденсаторов емкостью 0,0047 мкФ; конденсатор С2 типа
Стиральный бак имеет выемку в днище для установки активатора и метку на внутренней стенке, указывающую на необходимый уровень воды для стирки и полоскания. Активатор приводится во вращение электродвигателем через ременную передачу.
Привод машины состоит из электродвигателя, реле времени и теплового реле. Пуск и останов привода активатора осуществляются при помощи реле времени, ручка которого выведена на панель пульта управления.
СМП -стиральная машина полуавтоматическая, у которой управление отдельными процессами обработки тканей выполняется оператором;
СТИРАЛЬНАЯ МАШИНА «АУРИКА-80» ТИПА СМП-2.
Предназначена для стирки, полоскания
и отжима изделий из всех видов тканей.
Двухбаковый сварной каркас изготовлен
из листовой стали, покрыт щелочестойкой
стеклоэмалью. Корпус машины, состоящий
из двух половин, и верхняя крышка
изготовлены из листовой стали и покрыты
эмалевой краской. Автономные крышки
баков (стирального бака и бака центрифуги)
изготовлены из листового алюминия и
покрыты эмалевой краской. Крышка
центрифуги снабжена блокировкой,
отключающей с помощью микровыключателя
привод центрифуги при открывании крышки.
Электродвигатель активатора и
электродвигатель корзины центрифуги
управляются с помощью реле времени,
расположенного на пульте управления
на верхней панели машины. Привод
активатора осуществляется с помощью
клиноременной передачи, привод центрифуги
— через эластичную муфту. Верхняя панель
машины закреплена в корпусе с помощью
тяги. Корзина центрифуги — с помощью
гайки. Машина имеет внутреннюю
гидросистему, в которую входят насос,
механически соединенный с приводом
центрифуги и служащий для откачивания
раствора и воды, клапан, регулирующий
направление потока жидкости, фильтр и
резиновые шланги.
Схема автомата стиральной машины » Схемы электронных устройств
| Схема автомата стиральной машины | |
Сейчас нет недостатка в различных автоматических стиральных машинах. Но такие машины требуют подключения к водопроводу и канализации, специального порошка и отфильтрованной воды, не говоря уже о относительно высокой цене автоматических стиральных машин. Поэтому в сельской местности, когда воду нужно носить из колодца или колонки, расположенной на улице, а «все удобства» заключены в небольшой деревянной будке, более привлекательны отечественные стиральные машины старого типа (круглые). Моя «стиральная система» состоит из круглой стиральной машины «Ока» и центрифуги — отжималки «Фея». Все бы хорошо, но нет даже простейших таймеров, чтобы можно было установить время стирки и время отжимки. Думаю, с этой проблемой знакомы многие, поэтому предлагаю ознакомиться со схемой моего самодельного таймера.Для стиральной машины можно установить интервалы — 1 минута, 2 минуты, 4 минуты и 8 минут, для отжималки — 0,5 минуты, 1 минута, 2 минуты и 4 минуты (согласно инструкции на центрифугу, однократный режим работы не должен быть более 4 минут). Задающий генератор таймера выполнен на мультивибраторе D1.1-D1.2 с установкой частоты (17 Гц) при помощи RC-цепи. Это конечно не способствует стабильности, и погрешность установки времени может достигать 5%, но для управления такой «точной механикой» как стиральная машина, этого достаточно. Импульсы от генератора поступают на два счетчика D2 и D3, через ключевые элементы D1.3 и D1.4, соответственно. В качестве счетчиков используются микросхемы К561ИЕ16, -многоразрядные двоичные счетчики с максимальным коэффициентом деления 16384 (цифровой вес старшего выхода 8192). Рассмотрим установку таймера на примере узла, управляющего стиральной машиной. Импульсы частотой около 17 Гц поступают через D1.4 на счетный вход счетчика D3 Установка временного интервала производится модульным переключателем S5-S8. Когда все его кнопки отжаты, база VT2 через R7 соединена с его эмиттером, напряжение на базе относительно эмиттера равно нулю и транзистор закрыт. Закрыт и транзистор VT4, а мощное реле Р2 выключено. Чтобы включить стиральную машину нужно нажать одну из кнопок модульного переключателя S5-S8. Например, нужно чтобы стиральная машина работала 4 минуты. Нажимаем S7. Его кнопка фиксируется в нажатом положении. Резистор R6 подключается к выводу 2 D3, на котором сейчас логический нуль. Напряжение на базе VT2 относительно его эмиттера возрастает и транзистор открывается. Затем открывается VT4 и реле Р2 включает стиральную машину. В то же время, вторая секция S7 размыкает цепь подачи высокого уровня на вывод 11 D3. И счетчик начинает считать импульсы, поступающие на его вход (выв. 10) от мультивибратора. Для того, чтобы на выводе 2 D3 появилась единица, нужно чтобы на вход (выв 10) поступило 4096 импульсов, что, при частоте импульсов 17 Гц требует четырех минут времени. Для того чтобы снова включить стиральную машину нужно нажать кнопку S11 (кнопка без фиксации). При этом происходит сброс счетчика и отсчет времени начинается снова. Конструкция модульного переключателя П2К такова, что при смене временного интервала нужно либо переключать через отжатие всех кнопок, либо, после каждой смены временного интервала нажимать кнопку «Повтор» (S11) чтобы включить стиральную машину. Схема управления центрифугой выполнена на счетчике D2, она, в принципе, такая же, но только модульный переключатель (S1-S4) подключен на один разряд ближе к младшему разряду счетчика Поэтому, все интервалы в схеме на D2 в два раза меньше чем интервалы в схеме на D3. | |
Как почистить стиральную машину: руководство из 6 шагов по избавлению от плесени и запахов
Устраните неприятные запахи и навсегда избавьтесь от плесени с помощью нашего простого руководства по чистке стиральной машины.
Одежда иногда может выйти из стиральной машины влажной или с запахом плесени, особенно если вы оставляете мокрую одежду в стиральной машине. Это происходит из-за накопления грязи, известкового налета или моющего средства, поэтому ваша одежда выходит с этим налетом, даже если она прошла полный цикл стирки.
Грязная машина также может иметь неприятный запах, который может быть признаком других проблем, таких как рост плесени, поэтому вам нужны советы миссис Хинч по чистке (открывается в новой вкладке) о том, как чистить стиральную машину и как чистить с уксусом (откроется в новой вкладке).
Как чистить стиральную машину
Никто так хорошо не знает, как чистить легкодоступными бытовыми средствами и минимальными усилиями, как Софи Хинклифф, также известная как Софи Хинклифф.
Миссис Хинч. Это ее проверенные методы, позволяющие каждый раз получать идеально чистую стиральную машину.
1. Соберите все необходимое
Для чистки стиральной машины вам понадобится:
- Белый уксус
- Бикарбонат соды
- Спрей для ванной Flash (открывается в новой вкладке)
- Звуковой скребок (открывается в новый tab) или обычную чистящую губку
- Губка для мытья полов
- Салфетка
- Чайное полотенце
- Противень для выпечки
Очистка стиральной машины не займет много времени, объясняет миссис Хинч: «Я бы мне нравится быстро чистить стиральную машину, ничего особенно радикального, потому что я делаю это часто, чтобы не было так много скоплений».
2. Извлеките дозатор моющего средства
Полностью извлеките дозатор моющего средства из стиральной машины, поместите его в раковину и промойте спреем для ванной.
«Я использую спрей Flash для ванной комнаты, потому что он удаляет мыльную пену, идеально подходит для удаления старого кондиционера для белья», — говорит Софи.
3. Очистите полость ящика
Удивительно, но место, где находится ящик, может быть очень грязным, поэтому «всыпьте в ящик мерную ложку бикарбоната и распылите белый уксус».
Положите бикарбонат в ящик стиральной машины, чтобы очистить его. (Фото: Getty)
Тщательно очистите ящик, убедившись, что вы чистите его по бокам и сверху, используя губку или мочалку. После этого смойте оставшуюся грязь небольшим количеством воды.
4. Очистите резиновый ободок вокруг дверцы
Это одно из основных мест, где скапливается плесень и другие неприятные запахи, поскольку они задерживаются здесь между стирками.
Для этого миссис Хинч рекомендует сбрызнуть обод спреем для ванной Flash и использовать губку для швабры, поскольку она «идеально подходит для этого, она проникает прямо туда».
5. Слейте воду из фильтра
При этом вода выльется на пол, так что сюда придутся противень и кухонное полотенце или ткань. фильтр!» Софи говорит в видео: «Поставь противень и кухонное полотенце, оно собирает воду.
Или используй тряпку».
Противень идеального размера, как правило, просто плотно помещается между днищем стиральной машины и полом, чтобы собрать всю воду. Затем «очистите фильтр [с помощью спрея для ванной Flash] и закрутите его обратно».
6. Промойте барабан
Это самая простая часть всего процесса, так как миссис Хинч просто добавляет в барабан соду и уксус (вместе со всеми использованными грязными тряпками).
Высушите ящик, вставьте его обратно в машину, а затем обрызгайте переднюю часть машины спреем для ванной Flash или средством для мытья окон и стекол для придания блеска. Если у вас есть царапины на стиральной машине, вы можете попробовать использовать этот гениальный лайфхак, чтобы избавиться от царапин (откроется в новой вкладке).
Снова собрав все части машины и грязную одежду внутри, поставьте машину на быструю стирку.
В качестве альтернативы можно использовать отбеливатель для очистки барабана стиральной машины. Это хороший способ тщательно очистить стиральную машину, особенно если вы никогда не чистили ее раньше или если машина подвергалась воздействию большего количества бактерий, чем обычно, например крови или грязи.
Кредит: Getty
Для этого добавьте 60 мл неразбавленного отбеливателя в ящик для моющих средств и запустите машину в режиме горячего цикла. После того, как это будет сделано, поместите его на дополнительное полоскание, чтобы убедиться, что все остатки отбеливателя были отфильтрованы. Понюхайте внутри барабана и, если вы все еще чувствуете запах отбеливателя, запустите еще один пустой цикл.
Однако есть несколько вещей, о которых следует помнить. Отбеливатель очень реакционноспособен, поэтому важно использовать только 60 мл и не добавлять какие-либо другие чистящие средства в барабан или ящик во время стирки с отбеливателем. Если вы это сделаете, может образоваться много пены, которая в конечном итоге может выйти из машины или вызвать другие механические проблемы.
Однако иногда этого метода лучше вообще избегать. «Лично я не использую сильнодействующие чистящие средства с отбеливателем, — объясняет миссис Хинч, — потому что я беспокоюсь, что они проявятся на моей одежде при следующей стирке, такое уже случалось со мной раньше.
Кроме того, эти средства всегда есть у меня дома. в любом случае, это беспроигрышный вариант, ничего дополнительно покупать не нужно».
Лучшие продукты для чистки стиральной машины
Наряду с продуктами, рекомендованными миссис Хинч, мы любим эти любимые чистящие средства за то, что они хорошо очищают стиральную машину.
- Антибактериальный очиститель для стиральных машин Dettol, 2,50 фунта стерлингов — КУПИТЬ (откроется в новой вкладке)
- Средство для чистки ванной комнаты Astonish, 1,38 фунта стерлингов — КУПИТЬ (откроется в новой вкладке)
- Антибактериальный спрей Method, 3 фунта стерлингов — КУПИТЬ ( открывается в новой вкладке)
- Ecozone Magnoball (против известкового налета), 9 фунтов стерлингов.48 — КУПИТЬ (откроется в новой вкладке)
- Губка Spontex Handy, 1,50 фунта стерлингов — КУПИТЬ (откроется в новой вкладке)
- Губки Duzzit, 2 фунта стерлингов — КУПИТЬ (откроется в новой вкладке)
Как часто нужно ли чистить стиральную машину?
Ежемесячная чистка стиральной машины — хорошая идея, согласно совету по ремонту Curry .
«Мы рекомендуем делать это раз в месяц. Если у вас начинают образовываться маленькие черные точки внутри дверного уплотнителя или вы видите грязь, когда осторожно оттягиваете дверной уплотнитель, пришло время мыть».
Предоставлено: Getty
Это поможет уничтожить любые скрытые бактерии, но если ваша машина подверглась воздействию телесных жидкостей, таких как кровь, вы должны сразу после этого вымыть ее при самой высокой температуре, добавив в машину разбавленный отбеливатель.
Как поддерживать чистоту в стиральной машине между чистками
Чтобы поддерживать чистоту в стиральной машине между чистками, компания Curry’s рекомендует оставлять дверцу открытой между стирками, чтобы обеспечить минимальное накопление плесени с течением времени, и очищать резиновый ободок дверцы. регулярно, чтобы предотвратить появление плесени в щелях.
Также следует раз в месяц запускать пустой цикл горячей стирки (обычно около 60 градусов) или включать собственный цикл очистки машины.
Если вы стираете много грязных тяжелых вещей, таких как рабочая одежда для активного отдыха, рекомендуется время от времени освежать стиральную машину. 100020
Видео недели
Как выжить, если в вашей квартире нет стиральной машины
Если вы недавно переехали в новую квартиру, вы можете быть удивлены, узнав, что в вашем новом доме нет стиральной машины. И хотя это может показаться немного странным, поскольку стиральные машины стали обычным явлением в большинстве домов, это не конец света.
Есть множество способов постирать белье, даже не имея в квартире стиральной машины. Узнайте, как выжить без стиральной машины прямо сейчас!
Если в вашей квартире нет стиральной машины, вы можете беспокоиться о стирке белья. Но вам не о чем беспокоиться, потому что есть так много разных вариантов, которые вы можете попробовать, чтобы почистить свою одежду.
Вариант 1: Найдите прачечную самообслуживания
Один из самых простых способов почистить одежду, когда у вас нет стиральной машины в квартире, — это найти прачечную самообслуживания, также известную как прачечная самообслуживания.
Прачечные самообслуживания можно найти по всей Великобритании, и ими очень легко пользоваться. Все, что вам нужно сделать, это найти местную прачечную самообслуживания с помощью онлайн-поиска, отнести свою одежду к пустой и работающей машине в магазине, добавить моющее средство и монеты, и ваша одежда будет выстирана.
Стоит помнить, что в прачечных может быть немноголюдно, поэтому вам нужно выбрать день и время для стирки. Вам также нужно будет держать свои груды белья в порядке, чтобы вам не пришлось возиться со своей одеждой в магазине.
В дополнение к этому, вы должны взять с собой много мелочи, когда идете, и если вы не знаете, как использовать машины, вы должны попросить кого-нибудь о помощи.
Главный совет: возможно, вам повезет, если под вашей квартирой будет собственная прачечная самообслуживания.
Эта прачечная, скорее всего, будет обслуживать ваш многоквартирный дом и другие дома в этом районе. Так что забронируйте место для уборки для себя, если можете!
Вариант 2. Использование прачечной самообслуживания на открытом воздухе
Прачечная самообслуживания под открытым небом, такая как Revolution Laundry, по существу ничем не отличается от прачечной самообслуживания. Единственным существенным отличием является то, что эти типы стиральных машин находятся на улице и обычно размещаются рядом с магазинами и заправочными станциями. Это делает их очень удобными для пользователей.
Эти стиральные машины обычно стирают партии белья разного размера, и они различаются по цене, так что вы можете решить, сколько белья стирать и какую цену вы готовы заплатить!
Однако эта служба появляется не везде, поэтому вам придется следить за ней.
Вариант 3: стирать одежду вручную дома
Если вы не хотите пользоваться какой-либо прачечной, вы, конечно, можете стирать белье вручную в своей квартире.
Стирать одежду вручную очень просто, однако это может занять много времени, поэтому лучше стирать одежду понемногу и часто.
Чтобы постирать одежду вручную, просто разделите одежду по цвету, подойдите к раковине (также подойдет ванна или ведро), обработайте пятна на одежде, а затем погрузите вещи, которые хотите постирать, в теплую воду. Все, что вам нужно сделать, это добавить моющее средство по вашему выбору и аккуратно встряхивать одежду снова и снова.
В конце этого процесса вам нужно будет снова и снова прополоскать все ваши вещи, а затем их нужно будет высушить.
Главный совет: обязательно ознакомьтесь с этикетками по уходу за одеждой, чтобы узнать, какой материал вы собираетесь чистить. Не все материалы следует очищать одинаково.
Вариант 4. Инвестируйте в небольшую портативную стиральную машину
Если у вас нет места для покупки новой стиральной машины в квартиру, но вы хотели бы иметь дома собственную стиральную машину, вы можете купить небольшая портативная стиральная машина.
Вы можете, например, e, приобрести портативную стиральную машину Display4Top для своей квартиры. Эта стиральная машина имеет высоту всего 52 см, работает от сети и выдерживает загрузку белья до 3 кг. Это идеальная стиральная машина для квартиры, потому что ее легко хранить!
Другим вариантом является портативная стиральная машина 2-в-1, которая также может стирать до 3 кг белья. Кроме того, эта портативная стиральная машина подходит для домов с маленькими детьми и проста в использовании, поскольку на ней всего одна кнопка.
Конечно, есть несколько других вариантов, которые вы могли бы рассмотреть, в том числе стиральные машины с ножным управлением, поэтому вам не нужно электричество, а также портативные стиральные машины меньшего и большего размера!
Вариант 5. Аренда стиральной машины
Если вы хотите иметь дома «собственную» стиральную машину, но не хотите платить авансовые, ежемесячные или ремонтные расходы, вы можете аренду стиральной машины для вашей квартиры.
Аренда стиральной машины или любой другой бытовой техники — довольно простой процесс. Все, что вам нужно сделать, это выполнить онлайн-поиск «места аренды бытовой техники в вашем районе», просмотреть несколько веб-сайтов, прочитать отзывы, а затем согласиться на аренду стиральной машины на определенный период времени у уважаемой компании.
Конечно, если вы собираетесь пойти по этому пути, вам нужно выбрать известную компанию, вы должны прочитать мелкий шрифт, рассмотреть расходы и даже дополнительные сборы, и вы должны задать множество вопросов, прежде чем согласиться что-либо.
Вполне вероятно, что цены будут варьироваться от одной компании к другой, и правила сдачи в аренду бытовой техники будут меняться по мере того, как вы смотрите от одной компании к другой.
Вариант 6. Обратитесь в профессиональную прачечную
Если вы хотите найти настоящую профессиональную прачечную, которая может помочь вам, обычно вы можете найти услугу в вашем районе, выполнив быстрый онлайн-поиск.
Цены на услуги прачечной обычно различаются, и услуги, которые они предлагают, отличаются в зависимости от места. Тем не менее, этот вариант очень удобен для тех из вас, у кого плотный график. Например, , эти специалисты могут забрать ваше грязное белье и вернуть его вам, когда оно станет чистым! Они могут даже погладить ваше белье.
Конечно, этот тип прачечной вряд ли будет самым дешевым вариантом в этом списке, но как владелец квартиры вы можете найти эту услугу очень полезной в какой-то момент.
Вариант 7. Попросите воспользоваться чужой стиральной машиной
Если ни один из вышеперечисленных вариантов не кажется вам привлекательным, вы можете обратиться за помощью к родственнику или другу со стиркой.
Нередки случаи, когда люди уносят свою грязную одежду домой к родителям в выходные дни, когда они в гостях, например . Если это то, что вы можете сделать, то вам следует попробовать, это может сэкономить вам много времени и денег в долгосрочной перспективе.
Советы, о которых следует помнить, если у вас нет стиральной машины
Вот некоторые вещи, о которых вам действительно нужно помнить, пробуя варианты, описанные выше:
- Подбор услуг рядом с вашим местом жительства. Вы не хотите таскать мешки с бельем вверх и вниз по лестнице и через весь город. Вы должны даже подумать о получении небольшая сумка на колесиках , которая поможет вам носить белье туда и обратно, если это станет вашим регулярным занятием.
- Вы должны быть организованы. У вас нет времени суетиться, когда вы пользуетесь прачечной самообслуживания. Вам нужно заранее спланировать количество стирки, чтобы вы могли быстро взять свои вещи и отнести их в стирку. И вам нужно знать, когда вы будете стирать, чтобы у вас было достаточно времени, чтобы подождать и забрать свои вещи, когда они будут готовы.
- Не переусердствуйте с бельем. Не будь героем и попробуй отдать сразу все свое белье в стирку.
Совершайте регулярные поездки, если это необходимо, чтобы снизить давление на себя. - Будьте готовы. Убедитесь, что у вас есть запас чистящих средств и они готовы к работе.
- Убедитесь, что вы используете чистые стиральные машины.
- Берите с собой много мелочи, когда идете стирать одежду. Вы можете обнаружить, что одна машина не работает, и вам придется переключиться на другую.
- Всегда изучайте, прежде чем согласиться на какие-либо услуги прачечной. Узнайте, за что вы платите, дополнительные расходы и что произойдет, если ваша одежда порвется или потеряется, например .
- Сушка одежды так же важна, как и стирка.
Как высушить одежду после стирки
Существует несколько способов высушить одежду после стирки, используя приведенные выше варианты, вот они:
- Если вы пользовались какими-либо услугами прачечной, то, скорее всего, вы найдете сушильную машину либо в той же комнате, либо встроенную в стиральную машину, которой вы пользовались.


Моя «стиральная система» состоит из круглой стиральной машины «Ока» и центрифуги — отжималки «Фея». Все бы хорошо, но нет даже простейших таймеров, чтобы можно было установить время стирки и время отжимки. Думаю, с этой проблемой знакомы многие, поэтому предлагаю ознакомиться со схемой моего самодельного таймера.

Как только это происходит, единица через верхнюю секцию S7 поступает на базу VT2 и VT4 закрывается, а реле Р2 выключает стиральную машину. В это же время, единица поступает на вывод 13 D1.4. Элемент закрывается и импульсы от мультивибратора больше не поступают на вход (выв. 10) счетчика D3. Схема на D3 останавливается в таком положении.
Совершайте регулярные поездки, если это необходимо, чтобы снизить давление на себя.